18个回答
2018年最新统计,目前中国人口约14.25亿,占世界的26.54%。在我国所有的城市中,常住人口超1000万的已经不算稀奇,常住人口最多的十个城市如下:
哈尔滨,黑龙江省省会,常住人口总数在我国城市中排名第十,1066.5万人。
武汉,湖北省省会,常住人口总数在我国城市中排名第九,1076.62万人。
石家庄,河北省省会,常住人口总数在我国城市中排名第八,1078.46万人。
深圳,常住人口总数在我国城市中排名第七,1190.84万人。
广州,广东省省会,常住人口总数在我国城市中排名第六,1404.35万人。
天津,常住人口总数在我国城市中排名第五,1562.12万人。
成都,四川省省会,常住人口总数在我国城市中排名第四,1591.8万人。
北京,常住人口总数在我国城市中排名第三,2172.9万人。
上海,常住人口总数在我国城市中排名第二,2419.70万。
重庆,常住人口总数在我国城市中排名第一,3048.43万。是我国唯一人口超过三千万的城市。

扩展资料:
人口普查工作包括对人口普查资料的搜集、数据汇总、资料评价、分析研究、编辑出版等全部过程,它的目的是全面掌握全国人口的基本情况,研究制定人口政策和经济社会发展规划提供依据,为社会公众提供人口统计信息服务。
人口普查工作按照全国统一领导、部门分工协作、地方分级负责、各方共同参与的原则组织实施。国务院统一领导全国人口普查工作,研究决定人口普查中的重大问题。地方各级人民政府按照国务院的统一规定和要求,领导本行政区域的人口普查工作。
科学、有效地组织实施全国人口普查,保障人口普查数据的真实性、准确性、完整性和及时性,根据《中华人民共和国统计法》,制定《全国人口普查条例》。国家机关、社会团体、企业事业单位应当按照《中华人民共和国统计法》和《全国人口普查条例》的规定,参与并配合人口普查工作。
参考资料:
国家统计局-人口普查
1、重庆市2884.62万
重庆地处中国内陆西南部,东邻湖北、湖南,南靠贵州,西接四川,北连陕西。总面积8.24万平方千米,辖38个区县(自治县);地区生产总值19500.27亿元。 有中国火锅之都 、中国会展名城 、世界温泉之都之称。
2、上海市2301.91万
上海市总面积6340平方公里,辖16个市辖区,属亚热带湿润季风气候。 上海GDP居中国城市第一位,亚洲城市第二位,仅次于日本东京。上海是全球著名的金融中心,全球人口规模和面积最大的都会区之一。上海被GaWC评为世界一线城市 。上海住户存款总额和人均住户存款均居全国第二 。2017年,上海高新技术企业总数达到7642家, 位列福布斯2017年“中国大陆最佳商业城市排行榜”第一位。
3、北京市1961.24万
北京,简称“京”,是中华人民共和国的首都、直辖市、国家中心城市、超大城市、国际大都市,全国政治中心、文化中心、国际交往中心、科技创新中心,是中国共产党中央委员会、中华人民共和国中央人民政府、全国人民代表大会、中国人民政治协商会议全国委员会、中华人民共和国中央军事委员会所在地,也是中部战区司令部驻地。
4、成都市1404.76万
成都,简称蓉,别称蓉城、锦城,是四川省省会,西南地区唯一一个副省级市,特大城市,国家重要的高新技术产业基地、商贸物流中心和综合交通枢纽,西部地区重要的中心城市。 2017年,全市下辖20个区(市)县和高新区、天府新区成都直管区, 面积1.46万平方公里,GDP超1.3万亿元, 城镇化率达70.6%。
5、天津市1293.82万
天津,简称津,中华人民共和国直辖市、国家中心城市、超大城市、环渤海地区经济中心、首批沿海开放城市,全国先进制造研发基地、北方国际航运核心区、金融创新运营示范区、改革开放先行区。
6、广州市1270.08万
广州,简称穗,别称羊城、花城,是广东省省会、副省级市、国家中心城市、超大城市、国际大都市、国际商贸中心、国际综合交通枢纽、国家综合性门户城市,首批沿海开放城市,是南部战区司令部驻地 。广州地处广东省中南部,珠江三角洲北缘,濒临南海,邻近香港、澳门,是中国通往世界的南大门,是粤港澳大湾区、泛珠江三角洲经济区的核心城市以及一带一路的枢纽城市。
7、保定市1119.44万
保定,古称上谷、保州、靴城、保府,位于河北省中部、太行山东麓 ,是京津冀地区中心城市之一,素有“北控三关,南达九省,畿辅重地,都南屏翰”之称。 今保定之名意为“保卫大都,安定天下”, 保定向来是“京畿重地”“首都南大门”。
8、哈尔滨市1063.60万
哈尔滨,简称“哈”,别称“冰城”,是黑龙江省省会、副省级市、特大城市、中国东北地区中心城市之一,哈尔滨都市圈核心城市,是东北北部交通、政治、经济、文化、金融中心,也是中国省辖市中陆地管辖面积最大、户籍人口居第三位的特大城市,地处中国东北平原东北部地区、黑龙江省南部,国家重要的制造业基地。截至2015年,哈尔滨总面积5.31万平方公里,市辖区面积10198平方公里,辖9个市辖区、7个县,代管2个县级市。
9、苏州市1046.60万
苏州,古称吴,简称为苏,又称姑苏、平江等,是国家历史文化名城和风景旅游城市,国家高新技术产业基地,长江三角洲城市群重要的中心城市之一 、G60科创走廊中心城市、江苏长江经济带的重要组成部分。
10、深圳市1035.79万
深圳,简称“深”,别称“鹏城”,是中国四大一线城市之一,广东省省辖市、计划单列市、副省级市、国家区域中心城市、超大城市,国务院定位的全国经济中心城市和国际化城市、国家创新型城市、国际科技产业创新中心、全球海洋中心城市、国际性综合交通枢纽,中国三大全国性金融中心之一。

扩展资料
大陆人口超13.6亿。
近日曝光的国家统计局发布的数据显示,2014年末,中国大陆人口为136782万人,比上年末增加710万人,其中男性人口70079万人,女性人口66703万人。
参考资料
百度百科-中国城市人口排名表
第一位【重庆】3000万。四大直辖市之一,国家中心城市、超大城市、长江上游地区经济中心、金融中心和创新中心,国务院定位的国际大都市。中西部水、陆、空型综合交通枢纽。
第二位【上海】2301万。中国经济中心,也是交通、科技、工业、金融、会展和航运中心之一。上海港货物吞吐量和集装箱吞吐量均居世界第一,是一个良好的滨江滨海国际性港口。上海也是中国大陆首个自贸区“中国(上海)自由贸易试验区”所在地。
第三位【北京】2161万。首都,历史文化名城,北方最大城市,三大一线城市之一。全国政治中心、文化中心、国际交往中心、科技创新中心。是世界上拥有世界文化遗产数最多的城市。
第四位【成都】1404万。西南最大城市,西部经济中心城市之一,2015年由国务院批复并升格为国家重要的高新技术产业基地、商贸物流中心和综合交通枢纽,西部地区重要的中心城市 。
第五位【天津】1293万。四大直辖市之一,北方经济中心之一,全国先进制造研发基地、北方国际航运核心区、金融创新运营示范区、改革开放先行区。中国(天津)自由贸易试验区为中国北方唯一的自贸区。
第六位【广州】1270万。华南最大城市,中国经济中心城市之一,广州是国务院定位的国际大都市,国家三大综合性门户城市之一,五大国家中心城市之一,与北京、上海并称“北上广”。
第七位【保定】1119万。有点让人出乎意料,但河北向来是人口大省,保定也是华北明珠,京津冀地区中心城市之一,素有“京畿重地”、“首都南大门”之称,曾被传要成为“政治副中心”。
第八位【哈尔滨】1063万。东北经济中心城市之一,工业重镇,是国家战略定位的“沿边开发开放中心城市”、“东北亚区域中心城市” 及“对俄合作中心城市” 。
第九位【苏州】1046万。中国的历史文化名城,新兴的工业城市,大量的外资和优异的地理位置使这座城市经济增长强劲,不断吸纳着外来人口。
第十位【深圳】1035万。深圳是中国改革开放建立的第一个经济特区,是中国改革开放的窗口,已发展为有一定影响力的国际化城市,华南重镇。

扩展资料:
截至2017年末,中国大陆总人口:13亿9008万人,(包括31个省、自治区、直辖市和中国人民解放军现役军人,不包括香港、澳门和台湾以及海外华侨人数),比2016年增加737万人,2017年全年出生人口1723万人,死亡人口986万人。
2017年从年龄结构看0~15岁(含不满16周岁)总人口为2亿4719万人,占总人口比重的17.8%;16~59岁(含不满60周岁)总人口为9亿0199万人,占总人口比重的64.9;60周岁以上总人口为2亿4090万人,占总人口比重的17.3%。
2017年从城乡结构看,城镇常住人口8亿1347万人,城镇人口占总人口比重(城镇化率)为58.52%,比2016年末提高1.17个百分点。乡村常住人口5亿7661万人,占总人口比重的41.48%。 全国人户分离人口(即居住地和户口登记地不在同一个乡镇街道且离开户口登记地半年以上的人口)2.91亿人,其中流动人口2.44亿人。
中国香港2017总人口:740.98万人;中国澳门2017总人口:65万3100人;台湾省人口:2316.21万人。2016年人口出生率为12.43‰;人口死亡率为7.11‰;人口自然增长率为5.32‰。
参考资料:百度百科-中国人口
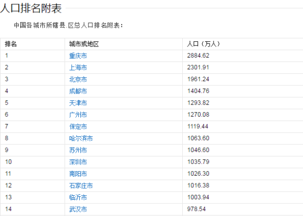
中国人口最多城市排名如下,单位(万人):
1、重庆市 2884.62
2、上海市 2301.91
3、北京市 1961.24
4 、成都市 1404.76
5 、天津市 1293.82
6、广州市 1270.08
7、保定市 1119.44
8、哈尔滨市 1063.60
9、苏州市 1046.60
10、深圳市 1035.79

扩展资料:
中国城市人口排名表,是针对中国城市人口进行排名的列表。2014年末,中国大陆人口为136782万人,比上年末增加710万人,其中男性人口70079万人,女性人口66703万人。
参考资料:百度百科:中国城市人口排名表
第一位【重庆】3000万。四大直辖市之一,国家中心城市、超大城市、长江上游地区经济中心、金融中心和创新中心,国务院定位的国际大都市。中西部水、陆、空型综合交通枢纽。
第二位【上海】2301万。中国经济中心,也是交通、科技、工业、金融、会展和航运中心之一。上海港货物吞吐量和集装箱吞吐量均居世界第一,是一个良好的滨江滨海国际性港口。上海也是中国大陆首个自贸区“中国(上海)自由贸易试验区”所在地。
第三位【北京】2161万。首都,历史文化名城,北方最大城市,三大一线城市之一。全国政治中心、文化中心、国际交往中心、科技创新中心。是世界上拥有世界文化遗产数最多的城市。
第四位【成都】1404万。西南最大城市,西部经济中心城市之一,2015年由国务院批复并升格为国家重要的高新技术产业基地、商贸物流中心和综合交通枢纽,西部地区重要的中心城市 。
第五位【天津】1293万。四大直辖市之一,北方经济中心之一,全国先进制造研发基地、北方国际航运核心区、金融创新运营示范区、改革开放先行区。中国(天津)自由贸易试验区为中国北方唯一的自贸区。
第六位【广州】1270万。华南最大城市,中国经济中心城市之一,广州是国务院定位的国际大都市,国家三大综合性门户城市之一,五大国家中心城市之一,与北京、上海并称“北上广”。
第七位【保定】1119万。有点让人出乎意料,但河北向来是人口大省,保定也是华北明珠,京津冀地区中心城市之一,素有“京畿重地”、“首都南大门”之称,曾被传要成为“政治副中心”。
第八位【哈尔滨】1063万。东北经济中心城市之一,工业重镇,是国家战略定位的“沿边开发开放中心城市”、“东北亚区域中心城市” 及“对俄合作中心城市” 。
第九位【苏州】1046万。中国的历史文化名城,新兴的工业城市,大量的外资和优异的地理位置使这座城市经济增长强劲,不断吸纳着外来人口。
第十位【深圳】1035万。深圳是中国改革开放建立的第一个经济特区,是中国改革开放的窗口,已发展为有一定影响力的国际化城市,华南重镇。